Warenkorb
Bosch Umluft-Abluftset
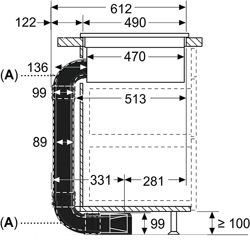
Zubehörset für ein teilumluftbetriebenes Umluftsystem für Arbeitsplatten ab 70 cm Tiefe.
2 x 90°-Winkelstücke (Außengewinde)
3 x Verbindungsstücke (Innengewinde) zum Verbinden von Flachrohren und Winkelstücken
1 x gerades Rohr (Außengewinde, 500 mm)
Diffusor zur direkten Verbindung mit den Flachrohren und zur Luftverteilung entlang der Sockelleiste.
Technische Daten
Verpackungsmaße: 175 x 400 x 595 mm
Nettogewicht: 2,6 kg
Bruttogewicht: 3,7 kg
Keine Beiträge gefunden.

Zahlungsmethoden
Transaktion 3D Secure
Lieferzeiten
Lieferoptionen
| Lieferung: |
|
|
|
|
|
|
|
|
Montag bis Freitag
9:30 bis 13:30 Uhr
14:30 bis 18:30 Uhr
Kontaktieren Sie uns
contact@hémméra.com